Sensoren + Zubhör
  Grundsätzliches     Messgeräte     Dienstleistung  
Eintauchfühler
Einstechfühler
Luftfühler
Oberflächenfühler
OK102
OK110
OK200
OK410
OK411
OK412
OK510
OK511
OK600
OK505
OK115
TKF
OP100
OP101
OP102
Sonderfühler
Kalibrierstandards
Steckverbindungen
Ausgleichsleitungen
Zubehör
Allgemein:
Startseite
Kontakt
Impressum
Datenschutz
Disclaimer
AGBs
Sitemap

OP101



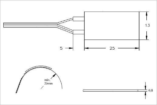
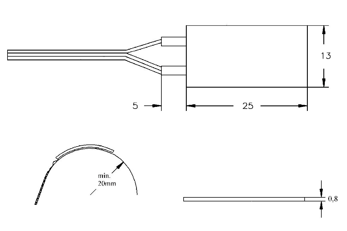
Bauart: OP101
Sensorart: Widerstandsthermometer Pt100 nach IN EN 60751 Kl. B
Meßbereich: -50 ... 250 °C
Verwendungszweck: stationäre Oberflächentemperaturmessung
allg. Beschreibung: Oberflächenfühler mit 2 m direkt angeschlossener 3-Leiter-Silikonanschlußleitung (offene Enden mit Kabelschuhen).
Besonderheiten: Die Widerstandswicklung dieses Oberflächenfühlers ist in einen nur 0,8 mm starken und an Fläche sehr kleinen Silikonträger eingebettet. Dadurch wird eine für einen Pt100 sehr kurze Ansprechzeit ermöglicht. Speziell an kleinen Meßstellen kommt dieser Sensor zum Einsatz, wobei die Oberfläche durchaus etwas gekrümmt sein darf, da der Fühler durch den Silikonträger in Grenzen flexibel ist. Die Montage des Sensors erfolgt vorwiegend durch Klebung.
Ansprechzeit: t63 = 5 s ; t95 = 15 s
Sonstiges: Bei Montage an gekrümmten Flächen Biegeradius mind. 20 mm.
mawi-Bewertung: Wenn an einer gekrümmten Meßfläche ein Pt100 gefordert ist, stellt der OP101 häufig die Lösung dar.
Best.-Nr.: 01637


HINWEIS: Die für unsere Sensoren angegebenen Ansprechzeiten basieren auf definierten Rahmenbedingungen. Bitte beachten Sie unsere diesbezüglichen allgemeinen Informationen zu Temperatursensoren unter "Grundsätzliches".

(Alle technischen Angaben ohne Gewähr. Änderungen bzw. Irrtümer vorbehalten.)

Haben Sie Fragen? Rufen Sie uns an unter 02 01 / 36 55 88 66!
Oder senden Sie und eine e-mail an info@temperatursensoren.com!


Druckbare Version
Copyright © 2008-2021 mawi-therm Temperatur-Prozeßtechnik GmbH - All rights reserved.