OP101



Bauart: OP101
Sensorart: Widerstandsthermometer Pt100 nach IN EN 60751 Kl. B
Meßbereich: -50 ... 250 °C
Verwendungszweck: stationäre Oberflächentemperaturmessung
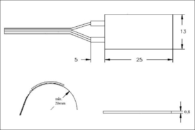
allg. Beschreibung: Oberflächenfühler mit 2 m direkt angeschlossener 3-Leiter-Silikonanschlußleitung (offene Enden mit Kabelschuhen).
Besonderheiten: Die Widerstandswicklung dieses Oberflächenfühlers ist in einen nur 0,8 mm starken und an Fläche sehr kleinen Silikonträger eingebettet. Dadurch wird eine für einen Pt100 sehr kurze Ansprechzeit ermöglicht. Speziell an kleinen Meßstellen kommt dieser Sensor zum Einsatz, wobei die Oberfläche durchaus etwas gekrümmt sein darf, da der Fühler durch den Silikonträger in Grenzen flexibel ist. Die Montage des Sensors erfolgt vorwiegend durch Klebung.
Ansprechzeit: t63 = 5 s ; t95 = 15 s
Sonstiges: Bei Montage an gekrümmten Flächen Biegeradius mind. 20 mm.
mawi-Bewertung: Wenn an einer gekrümmten Meßfläche ein Pt100 gefordert ist, stellt der OP101 häufig die Lösung dar.
Best.-Nr.: 01637

HINWEIS: Die für unsere Sensoren angegebenen Ansprechzeiten basieren auf definierten Rahmenbedingungen. Bitte beachten Sie unsere diesbezüglichen allgemeinen Informationen zu Temperatursensoren unter "Grundsätzliches".


(Alle technischen Angaben ohne Gewähr. Änderungen bzw. Irrtümer vorbehalten.)

Haben Sie Fragen? Rufen Sie uns an unter 02 01 / 36 55 88 66!
Oder senden Sie und eine e-mail an info@temperatursensoren.com!


(C) 2011 - Alle Rechte vorbehalten

Diese Seite drucken